7YR企业会员
发布人:广州优南科技有限公司
发布日期:2025/11/12 9:41:03
时间:2025-11-12 作者:博药【转载】
从1984年科学家首次发现细胞周期蛋白依赖性激酶(CDK)之后,这一调控细胞周期进展的核心激酶家族便成为肿瘤研究的焦点。而直到2015年,全球首款CDK抑制剂(哌柏西利)才得以上市,用于乳腺癌治疗。
而后续历经数十年沉淀,CDK抑制剂这一细分市场无论是市场规模,还是新药数量均大幅上涨,俨然间成为行业难得的黄金赛道。其中,CDK4/6抑制剂领域现已广泛应用于临床,已成为HR+/HER2﹣晚期乳腺癌患者的标准一线疗法,2023年全球四款率先获批的CDK4/6抑制剂的总销售额高达107.4亿美元。2025年上半年,更是短时间内批准了4款新的CDK4/6药物。
在CDK4/6抑制剂一片大好的临床场景之外,其安全性方面的重大局限随之凸显,比如:常见的中性粒细胞减少,白细胞减少、血小板降低等不良反应,腹泻,皮疹,脱发等副作用风险。更关键的是,接受常规CDK4/6抑制剂治疗的患者往往会在后续出现不同程度的耐药性问题,导致疾病持续进展。
安全性不足+常规性耐药,导致该领域出现了亟待解决的临床需求,继而引发了药企们对新一代抑制剂的探索,而“CDK2抑制剂”正是肿瘤药物研发中较热门的靶点之一。
探索历程:CDK抑制剂的三个时代
一般而言,非程序性增殖作为癌细胞的关键标志之一,其直接或间接由失调的细胞周期蛋白依赖性激酶(CDKs)介导。
过程中,CDKs直接参与细胞周期进程和转录调控过程中催化蛋白磷酸化,而其催化活性则依赖与细胞周期蛋白调控伴侣(Cyclin)结合。目前几种已知“CDKs+细胞周期蛋白”的组合已在不同物种中被鉴定识别,并参与细胞进程,即熟知的G1、S、G2和M期(下图)。
其中,除了直接驱动细胞周期进程的CDKs(如CDK4、CDK6、CDK2、CDK1和CDK3)外,还有控制转录的CDKs家族,包括CDK7、CDK8、CDK9、CDK10、CDK11、CDK12、CDK13等。而鉴于CDKs在细胞周期调控中发挥的至关重要的功能,几乎所有恶性肿瘤都具有某些损害细胞周期正常控制的特征可能。这就是为何过去30年里,多种靶向CDKs活性的药物不断进化的根本原因。
现如今,选择性靶向CDK抑制剂已成为现代癌症治疗的支柱,多种CDK抑制剂被开发用于阻断癌细胞增殖,截止目前,可大致分为四代产品。

数据来源:公开数据整理(点击查看大图)
第一代CDK抑制剂:泛CDK抑制剂,其对多种CDK及细胞增殖相关蛋白激酶均有抑制作用,特异性有限,治疗窗窄,毒副作用大,单药疗法在临床试验中多因毒性问题终止。比如Flavopiridol、Roscovitine等。
第二代CDK抑制剂:特异性CDK抑制剂,对部分特定靶点选择性有所提高,但却仍存在特异性和安全性不足的问题,甚至部分药物因此无缘晚期临床,早早终止,代表管线有Dinaciclib、At7519等。
第三代CDK抑制剂:高选择性CDK抑制剂,主要靶点方向集中于CDK4与CDK6,其他同阶靶点影响较小,在上一代CDK抑制剂之上显著提高了其安全性,也是目前临床CDK抑制剂的主要产品,代表产品为Palbociclib(哌柏西利)、Abemaciclib(阿贝西利)与Ribociclib(瑞波西利)等。
从第一代至如今主流的第三代CDK抑制剂,其发展方向遵循提高选择性、降低副作用,行业发展速度有目共睹。然而现阶段CDK抑制剂原则上也并非完美,比如日益凸显的耐药性问题。
第四代CDK:CDK2抑制剂满足迫切需求
如上文所述,尽管以CDK4/6抑制剂为首的第三代CDK抑制剂在临床上取得了成功,但随着时间的推移,这些抑制剂的原发性和获得性耐药性大幅增加,一定程度上限制了功效。
而导致CDK4/6抑制剂耐药的机制多种多样,比如①Rb基因缺失或表达下调、②细胞周期蛋白Cyclin E过表达可导致CDK2活化和Rb磷酸化的恢复、③CDK6过表达、④PI3K/AKT/mTOR通路的激活、⑤FGFR1上调诱导PI3K/AKT/mTOR和MAPK通路的激活。
其中,“CDK2活化”被认为是抑制耐药的最主要机制之一。而CDK2作为细胞从G1晚期过渡到S和G2期的重要驱动因素,其对正常细胞增殖的影响却相对较小。因此,“选择性CDK2抑制剂”理论上可以有效治疗CCNE1扩增肿瘤和CDK4/6i耐药乳腺癌,且最大限度地减少临床毒性。
目前,CDK2已被提议作为多种癌症的治疗靶标,例如KRAS驱动的肺癌、MYC扩增的神经母细胞瘤、黑色素瘤、急性髓性白血病、胶质母细胞瘤、前列腺癌和乳腺癌等。
综上,鉴于目前CDK4/6双靶点抑制剂毒副作用与耐药问题,CDK2抑制剂成为了现阶段解决问题的关键,开发一个选择性的CDK2激酶抑制剂,可能是目前临床上迫切且必须得临床需求,也预示CDK2抑制剂或可成为“第四代CDK抑制剂”。
赛道角逐:CDK抑制剂玩家数量暴涨
然而,严峻现实之下,早期CDK2抑制剂虽在临床前期展现出优秀的抗肿瘤潜力,但由于CDK家族成员间存在高度的序列同源性,其选择性却存在严重的不足,继而引发了较高的不良反应。因此,关于“下一代CDK2抑制剂”的研发再次回到了困扰整个领域发展的关键点,即如何提高药物的选择性?
直至近年,随着靶向药物设计技术的突破,高选择性CDK2抑制剂凭借“精准打击肿瘤细胞、降低脱靶毒性”的优势脱颖而出,多款候选药物在临床研究中展现出亮眼疗效,为肿瘤治疗开辟了新的精准赛道。
一者,CDK2成为了各大国际性会议上的热门靶点,MNC与Biotech争先披露其核心CDK2抑制剂的临床结果:
ASCO 2023大会上,Pfizer公开了其选择性CDK2抑制剂Tagtociclib在晚期实体瘤和HR+/HER2-乳腺癌患者中的初步积极临床结果:在先前接受过CDK4/6i治疗后病情进展的HR+/HER2-mBC患者中,经大量治疗后显示出抗肿瘤活性。
AACR 2024大会上,阿斯利康首次公开CDK2抑制剂AZD8421的具体信息。
ASCO 2025大会上,Incyte公布了其选择性CDK2抑制剂INCB123667治疗卵巢癌的I期研究数据。结果显示,90例患者经不同剂量治疗后,客观缓解率(ORR)为21.1%(19/90),其中4例为完全缓解,15例为部分缓解。
ASCO 2025大会上,百济神州首次公布了其高选择性CDK2抑制剂BG-68501的首次人体1a/b期剂量递增/扩展研究数据,结果显示BG-68501表现出良好的安全性/耐受性。
二者,全球范围内关于CDK2抑制剂的并购与管线交易也日益频繁,国内外前沿药企均一定程度上看好该领域的未来发展。
2023年6月1日,Bayer收购了Cedilla Therapeutics的CDK2抑制剂管线,获得了该公司CyclinE1/CDK2复合物抑制剂的开发和商业化的全部权利。
2023年11月21日,百济神州引进了Ensem Therapeutics的ETX-197(临床前)的全球独家许可,总交易额13.3亿美元。
2024年1月4日,Avenzo Therapeutics引进了国内安锐生物的“潜在BIC”的CDK2抑制剂ARTS-021与另一个临床前项目的独家选择权,首付款4000万美元,总交易额超10亿美元。
2024年9月30日,锐格医药与罗氏旗下基因泰克就两款CDK抑制剂达成收购协议,其中QR-6401是一款CDK2抑制剂,而RGT-419B则是一款CDK2/4/6/抑制剂,针对HR+/HER2-乳腺癌。
2025年6月25日,吉利德(Gilead Sciences)与Kymera Therapeutics宣布,双方已达成一项独家选择权和许可协议,以加速开发和商业化一种靶向细胞周期蛋白依赖性激酶2(CDK2)的新型分子胶降解剂(MGD)项目。该项目在肿瘤治疗领域具有广泛潜力,包括乳腺癌和其他实体瘤。
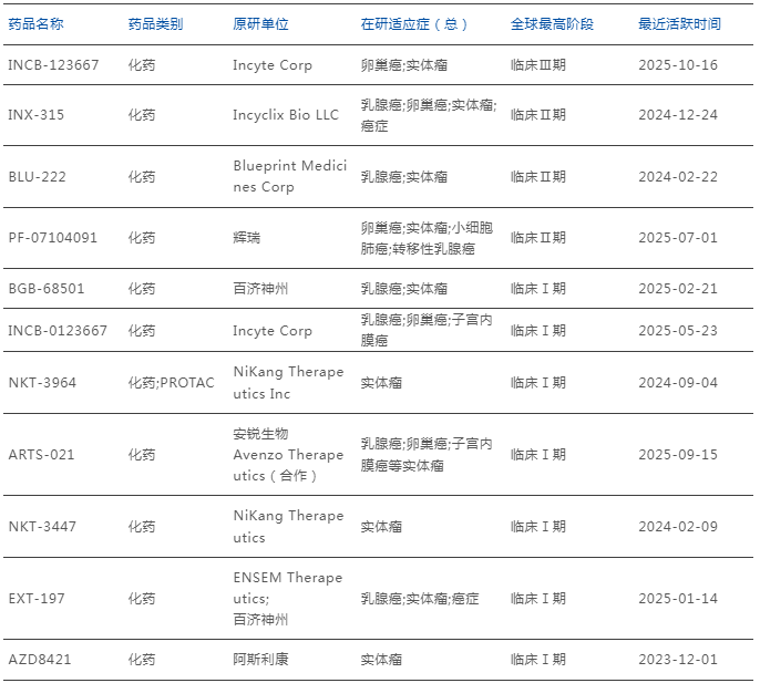
资本+药企的组合之下,近年来CDK2抑制剂领域迅速发展,据“药智数据”显示,目前全球管线上,尚无任何一款CDK2抑制剂获批上市,且仅有Incyte的INCB123667进入了临床III期,其余管线均处于临床前期(I/II期)阶段。

数据来源:药智数据(如有错误请指正)
而随着CDK2靶点领域的玩家数量的进一步上涨,越来越多药企与资本不再满足于常规抑制剂与单靶点药物,领域内逐渐出现越来越多差异化的创新疗法,比如CDK2 PROTAC、CDK2分子胶以及CDK2多靶药物。
未来:CDK2迈向多元化技术路线
为了克服传统CDK4/6抑制剂产生的选择性与耐药性问题,也为了与诸多CDK2常规产品体现差异化,CDK2抑制剂的未来发展呈现出多维度的创新趋势:研发逐渐偏向分子胶、PROTAC(蛋白降解靶向嵌合体)与多靶点方向。而三者间显著具备其自身多重优势,比如延长靶点抑制、靶向“不可成药”蛋白以及克服由靶蛋白结合位点突变等。
① CDK2多靶药物:
虽然,CDK4/6抑制剂在国内外各大指南中均已成为晚期激素受体阳性乳腺癌一线标准治疗方案,且CDK2抑制剂也被证明是解决传统CDK抑制剂耐药的关键载体,但目前来看,其单药在临床上疗效整体不佳,因此领域发展短时间内只能依靠药物联用与多靶点策略。
相关研究表明也证明,同时靶向CDK2、CDK4及CDK6有望在一定程度上克服 CDK4/6抑制剂耐药问题,增强抗肿瘤疗效。
近期美国癌症研究协会(AACR)官方杂志CLINICAL CANCER RESEARCH公布了 CDK2/4/6三靶点抑制剂PF-0687360的首个人体临床研究结果,为破解CDK4/6抑制剂耐药提供了新的临床证据。而另一方面,正大天晴的库莫西利(Culmerciclib)作为中国药企自主研发的CDK2/4/6抑制剂,也被证实对CDK2具有高抑制活性,同时对CDK4具有高度选择性,对CDK6抑制力较弱,因此理论上的副作用相对更低。
而在CDK2/4/6三靶点抑制剂外,以Cyclacel公司的CYC065为代表的CDK2/9抑制剂也是首批进入临床的高选择性第二代CDK2抑制剂之一,相比传统CDK抑制剂,其生物利用度高,耐受性良好,患者依从性佳。在二期数据不足以支持其在患者群体中作为单药继续开发的情况下,与CDK4/6抑制剂联用的可能性却依旧存在。
② PROTAC:
PROTACs通过利用细胞的泛素-蛋白酶体系统降解目标蛋白,为癌症治疗提供了一种独特的方法,并克服了传统CDK抑制剂的局限性,如耐药机制和脱靶效应。目前其针对CDK2、CDK4/6、CDK5、CDK8、CDK9和CDK12/13等CDK成员的PROTACs已经取得了显著进展。
今年,Kymera开发了一类对CDK2具有高选择性的降解剂,并发现其作用机制意外地同时诱导了Cyclin E1的降解,并在几乎不降解CDK1的浓度下即可完全抑制RB蛋白磷酸化。相较于小分子抑制剂,该降解剂对CDK2的效力和选择性提升,能够以更高的特异性抑制CCNE1扩增癌细胞的增殖活性。此外,CDK2与Cyclin E1的降解机制还可使帕博西利耐药(Pa)乳腺癌细胞重新发生细胞周期阻滞。通过口服给药,他们证实了该降解剂能实现强效且持久的RB通路抑制,抑制CCNE1扩增肿瘤生长所必需的条件。
2025年6月25日,吉利德科学和Kymera Therapeutics已宣布签订独家选择权和许可协议,以加快一种新型分子胶降解剂(MGD)计划的开发和商业化,该计划针对具有广泛肿瘤治疗潜力的细胞周期依赖性激酶2(CDK2),包括乳腺癌症和其他实体瘤。
尽管取得了这些进展,但PROTACs的开发仍面临挑战,包括选择合适的E3连接酶、提高选择性、减少脱靶效应以及改善药代动力学特性和细胞转运。
③ 分子胶:
分子胶作为另一种靶向蛋白降解策略,通过增强靶蛋白与E3连接酶之间的相互作用来促进其降解,CDK2分子胶能够选择性降解CDK2,导致E2F下游蛋白的减少和增殖的抑制,其与CDK2抑制剂有着不同的作用机制,被处理细胞并不存在CCNE1上调或p-Rb反弹的情况。
例如,(R)-CR8被发现是一种能够以纳摩尔浓度降解细胞周期蛋白K的分子胶。另有研究发现了一种新型分子胶,能够促进CDK12和DDB1之间的连接,从而选择性降解CDK12。此外,Monte Rosa最近也开始重点宣传其CDK2分子胶项目,其出色的临床前数据,展现其在HR+/HER2-乳腺癌中的治疗潜力。
CDK靶向PROTACs和分子胶的临床转化是癌症治疗的重大突破。2020年,首批PROTAC分子进入临床试验,提供了这种治疗方法可行性的初步证据。目前正在进行的临床试验正在评估这些化合物在多种癌症类型(包括实体瘤和血液恶性肿瘤)中的安全性和有效性。
从理论上看,分子胶相较PROTAC,其成药性接近小分子抑制剂,但具备更优秀的选择性与耐药机制,有望成为未来CDK2临床发展的BIC方向。
小结
从1992年泛CDK抑制剂的毒副作用桎梏,Flavopiridol、Roscovitine等管线因毒性问题屡屡终止。
到2000年特异性CDK抑制剂概念出现,虽提高了靶点选择性,却难逃安全性不足问题,Dinaciclib、At7519等管线无缘临床后期。
再到高选择性CDK抑制剂显著提高安全性,哌柏西利、阿贝西利等CDK4/6抑制剂大量上市。
CDK靶向治疗的进化史,本质其实就是一场对“精准抑制肿瘤、降低治疗损伤”的持续求索!而随着CDK抑制剂领域持续发展,耐药性问题逐渐凸显,新的临床需求也促使新的药物类型持续出现,而CDK2抑制剂正是破解临床痛点的关键抓手。
而本质上,以CDK2抑制剂为代表的第四代CDK抑制剂的出现,与之前的发展轨迹略有不同,请原则上并不会短时间内取代第三代CDK抑制剂,更多的仍是对其后续耐药性患者的叠加治疗,利大于弊。
至于未来,多靶点协同、PROTAC蛋白降解、分子胶靶向结合等多元化技术路线能否重塑产品格局,则仍需更多证据支持。既为耐药肿瘤患者打开生存新通道,也将重塑CDK靶向治疗的行业格局,推动肿瘤精准治疗迈入“高效、低毒、抗耐药”的全新发展阶段。
转载链接:https://news.yaozh.com/archive/46284.html
如有侵权请联系我们,我们将会删除。
优南推荐产品
Dinaciclib
相关新闻资讯